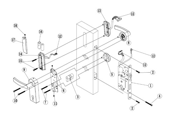
ORBITA S3078 Hotel Lock Installation instructions

August-23 2022
601

DOWN FROM GOOGLE DRIVE...

Read More

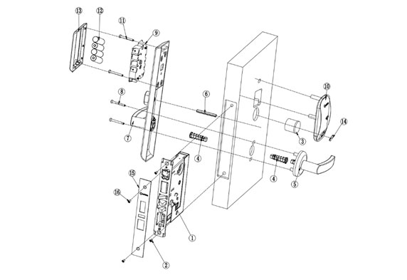
ORBITA S3074 Hotel Lock Installation instructions

August-23 2022
496

DOWN FROM GOOGLE DRIVE...

Read More

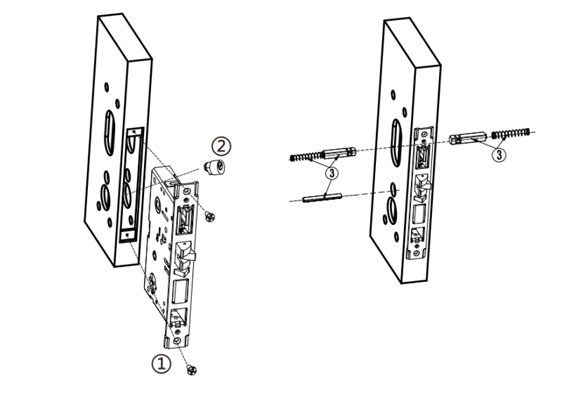
ORBITA S3072 Hotel Lock Installation instructions

August-23 2022
323

ORBITA S3072 isFashionable Unique , Sliding panel with hidden cylinder. DOWN FROM GOOGLE DRIVE...

Read More

ORBITA S3063 Hotel Lock Installation instructions

August-23 2022
383

DOWN FROM GOOGLE DRIVE...

Read More

ORBITA E4041 bluetooth LOCK Installation instructions

August-23 2022
480

E4041 LCD bluetooth lock isA real user friendly and fashionable lock with room confirmation and text / symbol indication....

Read More

ORBITA MFR-311 Elevator Card Reader Installation and Operation Guide Installation

August-23 2022
553

Wall mounting: 1 Drill holes in the wall to insert expansion bolts. 2 Fasten the metal plate with long bolts. 3 Fasten th...

Read More

ORBITA E4031 bluetooth LOCK Installation instructions

August-23 2022
729

ORBITA E4031 LCD hotel lock is A real user friendly lock with room confirmation and text / symbol indication. DOWN FROM G...

Read More

ORBITA E3093 bluetooth hotel lock Installation instructions

August-23 2022
365

2.3 Installation Precautions Please check the accessories before installing the door lock. After completing the installat...

Read More

ORBITA E3064P HOTEL LOCK Installation instructions

August-23 2022
776

S3064P Hotel lock is Slim Design Europe an Style,it is best choice for narrow profile or aluminum door...

Read More

ORBITA E3041 HOTEL LOCK Installation instructions

August-23 2022
1400

Installation Instructions and Requirements Confirm the door handing (this smart lock can be used for left-hand outswing, ...

Read More